跳转到主要内容

销量详情

功能概述:

销量详情数据来自报表,相比【今日订单】数据更准确,但是及时性差一些,更适合一段时间的统计,比如一个月的销量明细,而看今天的就不太准确,有的还没更新过来。

image.png

操作流程:

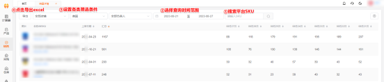
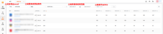
1.按平台SKU搜索

2.选择查询时间范围

3.设置筛选条件(店铺、站点、标签组、负责人等)

4.导出Excel文件