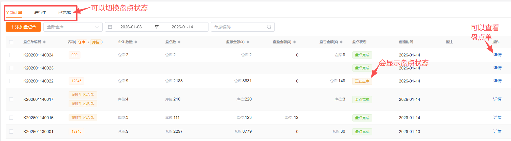
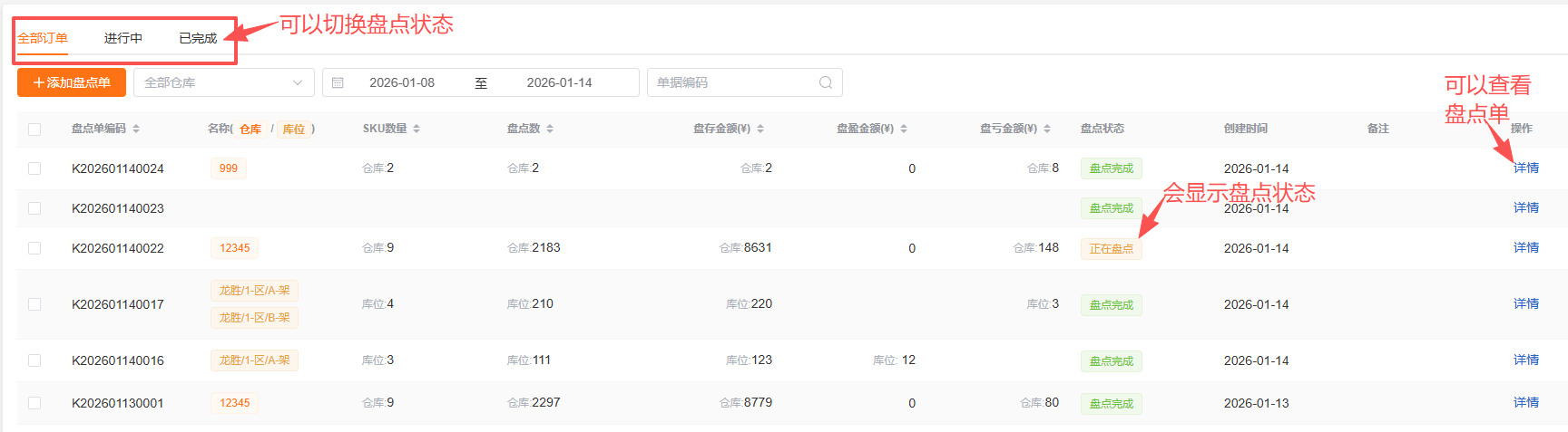
库存盘点
路径:wimoorui3\src\views\erp\warehouse\stocktake\index.vue
①功能概述:
库存盘点是用于定期或不定期核对系统库存数据与实际物理库存的一致性。通过该模块,您可以创建和执行各种盘点计划,发现并纠正库存差异,确保库存数据的准确性,为财务核算、业务决策和供应链优化提供可靠的数据基础。
②操作指导
1.盘点类型
(1)盘点产品:
对仓库中的产品进行盘点
(2)盘点库位:
对特定库位中的产品进行盘点
(3)盘点产品(海外仓):
对海外仓库中的产品进行盘点
2. 创建盘点计划
2.1点击页面顶部的"添加盘点单"按钮
2.2 在盘点单创建页面填写以下信息:
- 备注信息
- 盘点类型(盘点产品/盘点库位/盘点产品(海外仓))
- 根据盘点类型选择相应的仓位或库位
2.3提交盘点单
2.4填写盘点数量,系统会自动计算盘盈和盘亏的数量
- 盘盈:实际盘点数量大于系统记录数量
- 盘亏:实际盘点数量小于系统记录数量
2.5盘点完成后点击“盘点完成”,库存数量会自动更新,如果想取消则点击“取消盘点”


